首席增长官“智慧数据系统”使用说明书

浏览数量: 44     作者: 本站编辑     发布时间: 2021-09-03      来源: 本站

["facebook","twitter","line","wechat","linkedin","pinterest","whatsapp"]

一、“智慧数据系统”简介

“智慧数据系统”是为帮助网站主更好掌握网站访客的行为轨迹及浏览爱好,从而采集、分析各类访问数据,将看似无序的数据串联起来,为网站主提供有价值的运营建议的数据统计分析系统。系统可针对访客、流量来源、站点页面、转化(询盘/订单)等多维度数据进行采集和分析。


二、“智慧数据系统”用前须知


系统会在访客会话结束30分钟后显示本次会话的数据。


三、“智慧数据系统”名词解释

类别

名次

解释

累计类






累计浏览量(PV)

自数据开始统计之日起至今日,网站页面浏览量PV(Page View)的累计值。用户每打开一个网站页面就被记录1次。用户多次打开同一页面,浏览量值累计。

累计访客量(UV)

自数据开始统计之日起至今日,网站独立访客量UV(Unique Visitor)的累计值。一天内同一访客(以Cookie为依据)多次访问只计算1个访客。

累计IP数

自数据开始统计之日起至今日,网站独立访问IP的累计值。一天内同一IP多次访问网站只计算1个IP。

累计网站互动

自数据开始统计之日起至今日,访客在本站进行的主要互动行为(包含提交表单、发起咨询、提交注册、社交关注、社交分享、发起邮件、加入购物车、发起结算等操作)的累计值。

累计表单询盘

自数据开始统计之日起至今日,访客在本站通过发送表单进行询盘的数量。

累计转化

自数据开始统计之日起至今日,本站点转化(包含销售机会和交易订单)的累计值。

流量类




浏览量(PV)

网站页面浏览的总页数,用户每打开一个网站页面就被记录1次,用户多次打开同一页面,浏览量值累计。

访客量(UV)

一天内网站的访客数(以Cookie为依据),一天内同一访客多次访问只计算1个访客。

IP数

网站独立访问IP的数值,一天内同一IP多次访问网站只计算1个IP。

平均页面停留时间

访客浏览某个指定网页所用的平均时间。

页面类



钻石页面

有订单产生的产品页面,称为钻石页面;

黄金页面

有销售机会(IM咨询、表单询盘、会员注册)产生的页面,称为黄金页面;

普通页面

其他页面(即未产生订单、销售机会的页面)都为普通页面;

互动类









网站互动总数

统计访客在本站进行的主要互动行为(包含提交表单、发起咨询、提交注册、社交关注、社交分享、发起邮件、加入购物车、发起结算等操作)的次数。

提交表单数

统计访客在本站点击表单提交按钮的次数。

(注:此处仅统计用户点击表单“提交”按钮的次数,并非成功提交的表单数)

发起咨询数

统计访客在本站发起咨询(即“快速联系”组件中的各类咨询方式)的行为次数。

提交注册数

统计访客在本站点击会员注册按钮的次数。

(注:此处仅统计用户点击注册按钮的次数,并非成功注册的会员数)

社交关注数

统计访客在本站点击各类社交平台关注按钮的次数。

社交分享数

统计访客在本站点击各类社交平台分享按钮的次数。

发起邮件数

统计访客在本站点击邮箱链接的次数。

加入购物车数

统计访客将商品加入购物车的次数。

发起结算数

统计访客进行订单结算的发起次数。

转化类









转化

本站点转化(包含销售机会和交易订单)的数值,即销售机会和订单量的数值之和。。

转化率

本站点的转化量(包含销售机会和订单量)与访客量(UV)的比例。

订单量

访客在本网站进行交易的订单数量。

销售机会

统计访客在本站产生的潜在销售机会(包含表单询盘、发起咨询、会员注册、发起邮件)的数量。

表单询盘数

统计访客在本站成功发送表单的数量。

(注:此处统计访客成功提交的表单数,和网站互动中的“提交表单数”有区别)

发起咨询数

同网站互动中的“发起咨询数”。

会员注册数

统计访客在本站成功完成会员注册的数量。

(注:此处统计访客成功注册的会员数,和网站互动中的“提交注册数”有区别)

发起邮件数

同网站互动中的“发起邮件数”。

订单量

访客在本网站进行交易的订单数量。


四、“智慧数据系统”功能介绍

1、概况总览

“概况总览”显示站点重要数据指标的概览,包含数据总览(显示整站自统计日以来的重要数据的累计值)、流量转化(包括流量趋势图及转化漏斗图)、页面分析(优质页面TOP10榜单)模块。


A、累计数据

此处显示网站自统计之日起至今的各项指标的累计值,包含累计浏览量(PV)、累计访客量(UV)、累计IP数、累计网站互动、累计表单询盘、累计转化6个维度的数据。如下图所示:

image1


B、流量转化统计

• 重要指标统计:显示浏览量(PV)、访客量(UV)、IP数、网站互动、销售机会、订单量在用户所选日期段内的总数据量。如下图所示:

image2


• 趋势图:本趋势图显示PV、UV、IP、网站互动、销售机会、订单量6个指标(最多同时显示2个指标)随日期的变化趋势;鼠标悬停统计图中时,会显示该天日期以及所展现的指标详情;点击图例可切换显示/隐藏该指标的统计图。如下图所示:

image3


• 转化图:显示各流量来源渠道在“渠道访客总数-网站互动-转化”之间的转换情况;鼠标悬停各列时,会显示各渠道在所需日期时段内的该指标具体值及占比;点击图例可切换显示/隐藏该渠道的统计图。如下图所示:


名词解释:渠道访客总数,即所有来源渠道访客量的累加值,若访客当天通过多个不同渠道访问网站,会累加计算,所以该指标数值可能会大于“访客量(UV)”。

image4


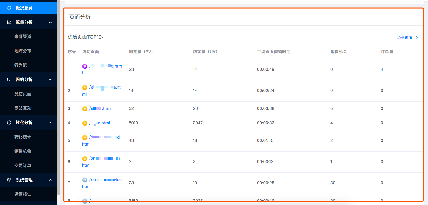
C、页面分析

显示筛选时段内TOP10的访问页面;显示该页面等级图标(钻石、黄金、普通)、页面链接地址、页面的流量(浏览量PV、访客量UV、平均页面停留时间)、页面的转化(销售机会、订单量)。如下图所示:

image5


2、流量分析

2.1 来源渠道

“来源渠道”页面显示本站流量来源的不同渠道以及流量的转化,是独立网站营销推广的重要部分。帮助网站主了解自己网站的流量来源和转化情况,针对性的提高某些渠道的投入,提升网站流量和转化。


A、统计图

• 来源渠道柱状图:显示所选日期时段内,不同流量来源渠道浏览量(PV)、渠道访客数的具体;点击图例可切换显示/隐藏该渠道的统计图;

• 来源渠道饼图:显示所选日期时段内,不同流量来源渠道浏览量(PV)、渠道访客数的占比;点击图例可切换显示/隐藏该渠道的统计图。

如下图所示:

image6


B、来源渠道详情数据

• 显示所选日期时段内,不同流量来源渠道各指标的具体值;包括“直接访问”、“社交媒体”、“自然搜索”、“视频网站”、“外部引荐”、“付费广告”、“其他”7类来源渠道;显示各“来源渠道”的“浏览量(PV)”、“访客量(UV)”、“平均页面停留时间”、“销售机会”、“订单量”、“转化率”7个维度的指标。如下图所示:

image7


2.2 地域分布

“地域分布”页面显示本站流量来源的不同国家或地区,可分析网站访客主要位于哪些国家。帮助网站主了解访客主要来自的国家/地区。


A、全球流量分布图

• 显示所选日期时段内,浏览量(PV)、访客量(UV)、销售机会、订单量在各国家/地区的分布情况;鼠标悬停国家/地区区域中时,会显示该国家/地区的具体信息。如下图所示:

image8


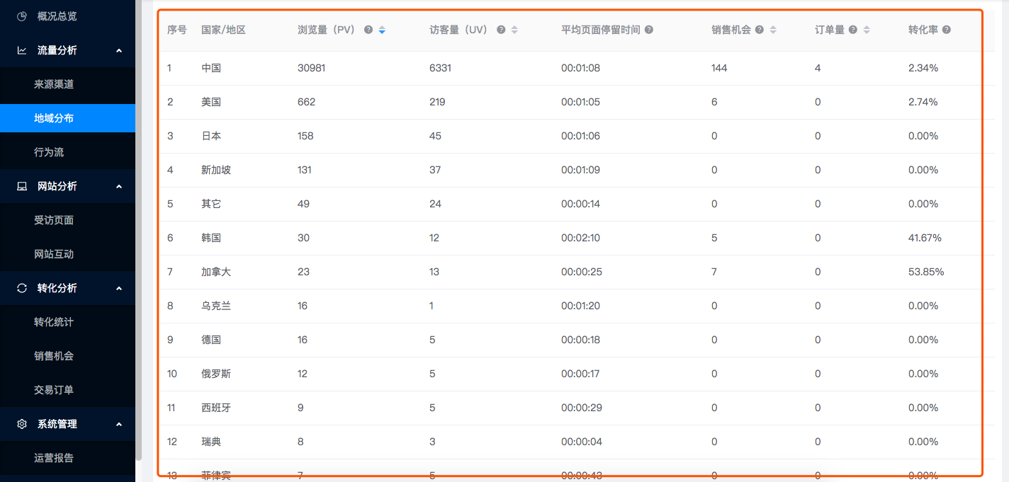
B、国家/地区详情数据

• 显示各“国家/地区”的“浏览量(PV)”、“访客数(UV)”、“平均页面停留时间”、“销售机会”、“订单量”、“转化率”6个维度的具体指标值。

image9


2.3 行为流

“行为流”页面显示本站所有用户访问的行为流数据,统计每次用户访问的详细数据。帮助网站主了解大部分访客在该网站上的浏览习惯。


A、行为统计图

• 统计所选时段内,所有会话从“流量来源(渠道/国家/域名)->着陆页->各轮次访问页面”流程下,进入各轮次流量以及流失流量的统计(具体数值及占比);鼠标悬停显示该页面继续浏览次数及流失次数的值。如下图所示:

image10


点击“查看下一次”按钮,可显示下一次的访问页面统计;

image11


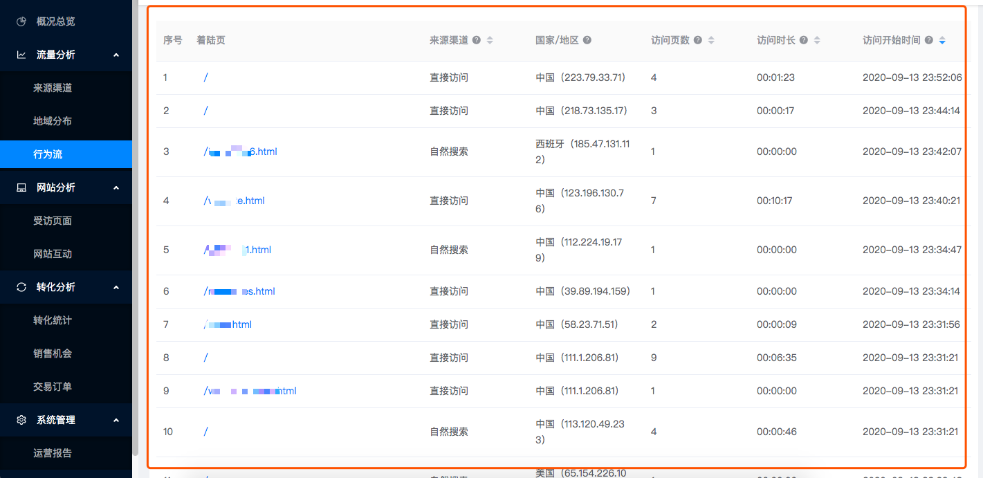
B、行为流详情统计

• 显示各会话的“着陆页”、“来源渠道”、“国家/地区”、“访问页数”、“访问时长”、“访问开始时间”6个维度的具体指标值,帮助网站主跟踪访客的每次会话。如下图所示:

image12


3、网站分析

3.1 受访页面

“受访页面”统计本站单个页面的访问情况,包括网页收录、等级、流量、转化等。


A、重要指标数据

• 显示本站页面总数、钻石页面数(有订单产生的产品页面,称为钻石页面)、黄金页面数(有销售机会产生的页面,称为黄金页面)。

image13


B、页面趋势图

• 显示所选日期时段内,网站每日页面总数的变化趋势;鼠标悬停统计图中时,会显示该天日期以及页面总数。

image14


C、页面详情统计

显示本站各页面的“浏览量(PV)”、“访客量(UV)”、“平均页面停留时间”、“销售机会”、“订单量”、“转化率”6个维度的指标。如下图所示:


image15

3.2 网站互动

“网站互动”统计访客在本站的各类互动操作,如社交分析、社交关注、快速联系等重要操作。


A、重要指标数据

• 显示筛选时段内,网站互动总数、提交表单数、发起咨询数、发起注册数、社交关注数、社交分享数、发起邮件数、加入购物车数、发起结算数。如下图所示:


image16

B、互动趋势图

• 显示所选日期时段内,填写表单数、发起咨询数、发起注册数、社交关注数、社交分享数、发起邮件数、加入购物车数、发起结算数随时间变化趋势;鼠标悬停统计图中时,会显示当天日期以及当天网站互动总数、填写表单数、发起咨询数、发起注册数、社交关注数、社交分享数、发起邮件数、加入购物车数、发起结算数的值(显示该互动的具体值及占当天互动总数的百分比)。


image17

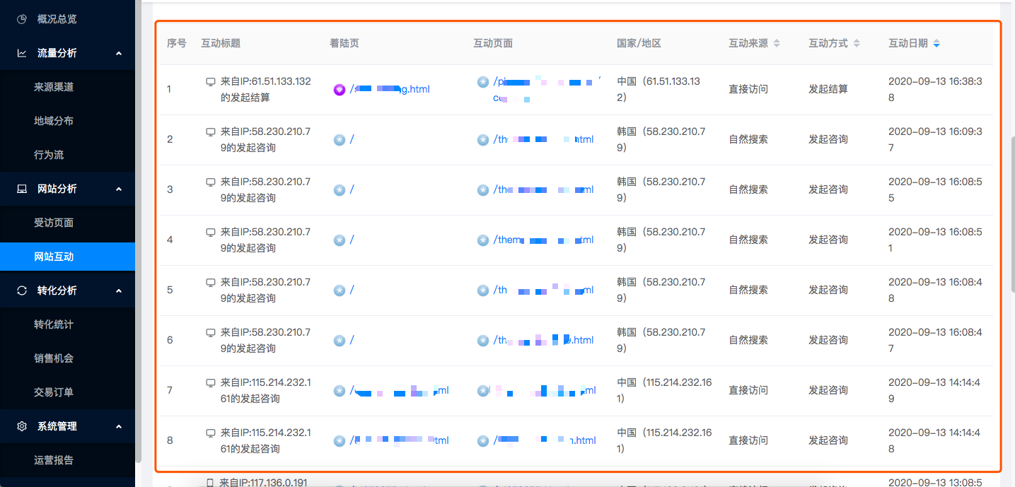
C、互动详情统计

• 显示每次网站互动的详细情况,包括“互动标题”、“着陆页”、“互动页面”、“国家/地区”、“互动来源”、“互动方式”、“互动日期”。


image18

4、转化分析

4.1 转化统计

显示转化(销售机会、交易订单)有关来源渠道、国家/地区、转化方式的数据统计。


A、转化统计图和转化漏斗

• 统计图:显示所选日期内,转化和转化率随时间的变化趋势。

• 漏斗图:显示所选日期内,“访客量(UV)-网站互动-转化”之前的转化,显示互动率、转化率。

如下图所示:


image19

B、转化方式、来源渠道、国家/地区占比

• 显示所选日期内,各转化方式(表单询盘、发起咨询、会员注册、发起邮件、交易订单)的占比;

• 显示所选日期内,各来源渠道(直接访问、社交媒体、自然搜索、视频网站、外部引荐、付费广告、其他)的转化占比;

• 显示所选日期内,各国家/地区的转化占比。

如下图所示:


image20

4.2 销售机会

“销售机会”统计访客在本站的产生的各类潜在销售机会的操作,包括表单询盘、发起咨询、会员注册、发起邮件。


A、重要指标数据

• 显示筛选时段内,总销售机会数、表单询盘数、发起咨询数、会员注册数、发起邮件数。如下图所示:


image21

B、销售机会趋势图

• 显示所选日期时段内,表单询盘数、发起咨询数、会员注册数、发起邮件数随时间变化趋势;鼠标悬停统计图中时,会显示当天日期以及当天总销售机会数、表单询盘数、发起咨询数、会员注册数、发起邮件数的值(显示该销售机会的具体值及占当天销售机会总数的百分比)。如下图所示:


image22

C、销售机会详情统计

• 显示每个销售机会的详细情况,包括机会标题、着陆页、转化页面、国家/地区、转化来源、转化方式、转化日期。如下图所示:


image23

4.3 交易订单

“交易订单”统计访客在具备商城功能的站点中产生的交易统计数据。


A、重要指标数据

• 显示本站累计订单数据;

• 订单金额类:总订单金额、已支付订单金额、未支付订单金额;

• 订单量类:总订单数、已支付订单数、未支付订单数;

• 会员类:总会员数、已购买会员数、未购买会员数;

如下图所示:


image24

B、订单趋势图

• 显示所选日期时段内,总订单金额、已支付订单金额、总订单数、已支付订单数随时间变化趋势;鼠标悬停统计图中时,会显示当天日期以及当天总订单金额、已支付订单金额、总订单数、已支付订单数的值。如下图所示:


image25

C、订单详情统计

• 显示网站上产生的每条订单的详细情况,包括订单号、着陆页、转化页面、国家/地区、转化来源、转化日期。如下图所示:


image26

5、关键词分析

5.1 关键词排名

网站开通关键词排名服务(不承诺排名)后,在智慧数据系统中会显示此统计页。

A、重要指标数据

• 1-10名数量:当前排在Google搜索结果1-10名的关键词数量;

• 11-20名数量:当前排在Google搜索结果11-20名的关键词数量;

• 21-30名数量:当前排在Google搜索结果21-30名的关键词数量。

如下图所示:


image27

B、关键词排名趋势图

• 显示所选日期时段内,1-10名、11-20名、21-30名的关键词数量随时间的变化趋势。鼠标悬停统计图中时,会显示当天日期的1-10名、11-20名、21-30名的关键词具体数量。如下图所示:


image28

C、关键词排名详情统计

• 显示具体关键词每日排名情况,排名在Google搜索引擎1-30名内,显示具体的排名;在30名之后的,显示“/”。如下图所示:


image29

6、系统管理

6.1 运营报告

系统会根据设置内容,定期给指定的邮箱发送本站的运营报告(周报/月报/季度报告)。


A、运营报告列表

• 显示设置的运营报告基本情况,包含报告内容、发送邮件、上次发送时间、预计发送时间。如下图所示:


image33

B、运营报告设置

• 报告内容:勾选需要发送的报告内容。将智慧数据可以统计的各模块细分,用户可以有选择的勾选需要发送的内容。

• 定期邮件:开启定期邮件后,系统会按设置的内容定期发送运营报告邮件。报告类型分为周报告(每周发送一次上周数据统计报告)、月报告(每月发送一次上月数据统计报告)、季度报告(每季度首月发送一次上季度数据统计报告)。

如下图所示:



image34